admin

:: VYHLEDÁVÁNÍ ::

Hlavní strana

:: SORTIMENT ::
KOLA 1.1
KOLA 1.1 (2.část)
HNACÍ NÁPRAVA 2.1 (dlouhý hřídel)
HNACÍ NÁPRAVA 2.1 (krátký hřídel)
HNACÍ NÁPRAVA 2.2 (dlouhý hřídel)
ELEKTROMOTOR 2.3 (dlouhý hřídel)
HNACÍ NÁPRAVA 2.2 (krátký hřídel)
ELEKTROMOTOR 2.3 (krátký hřídel)
DIFERENCIÁL 2.4
ŘÍDÍCÍ NÁPRAVA HYDR. 3.1 (- nebržděná / * - bržděná)
ŘÍDÍCÍ NÁPRAVA MECH. 3.1 (- nebržděná / * - bržděná)
HYDRAULICKÝ VÁLEC SERVOŘÍZENÍ 3.2
RÁM 4.1
RUČNÍ BRZDA 5.1
KABINA 6.1
PRAVÉ DVEŘE 6.2
LEVÉ DVEŘE 6.3
TOPENÍ 6.4
SLOUPEK ŘÍZENÍ 7.1 (hydraulické řízení)
SLOUPEK ŘÍZENÍ 7.1 (mechanické řízení)
SLOUPEK ŘÍZENÍ 7.2 (hydraulické řízení)
SLOUPEK ŘÍZENÍ 7.2 (mechanické řízení)
BRZDOVÝ OKRUH 8.1 (* bržděná ŘN)
HYDRAULICKÝ OKRUH 8.2
MONTÁŽ 9.1
MONTÁŽ 9.2
BOČNICE (MONTÁŽ) 9.3
BOČNICE (MONTÁŽ) 9.4
ZAPOJENÍ VOZÍKU 10.1
DESKA REGULACE 10.2


Náčrt



  Strana 1 z 5 zobrazováno po 10 Další 
začátek 2 3 4 konec

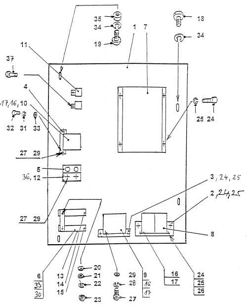
DESKA REGULACE 10.2
0 Deska regulace  
3-09386-09
80V/275A
počet kusů:
0 Deska regulace  
3-09386-10
48V/350A
počet kusů:
0 Deska regulace  
5-49386-00
48V/450A
počet kusů:
0 Deska regulace  
5-49386-01
s cizím buzením
počet kusů:
1 Deska  
3-06790-40
počet kusů:
2 Úhelník  
4-06991-01
počet kusů:
3 Ühelník  
4-06991-02
počet kusů:
4 Úhelník  
4-06991-03
počet kusů:
5 Úhelník  
4-06913-44
počet kusů:
6 Držák pojistek  
4-09335-06
počet kusů:

  Strana 1 z 5 zobrazováno po 10 Další 
začátek 2 3 4 konec


Zasílání INFO
Jméno E-mail -->> Odhlásit <<--

© 2003 Created by Czechproduct Nejlépe prohlédnete v IE 5.0 a vyšší, Optimalizováno pro rozlišení 800x600 a větší.