admin

:: VYHLEDÁVÁNÍ ::

Hlavní strana

:: SORTIMENT ::
KOLA 1.1
KOLA 1.1 AV 16-20 A
HNACÍ NÁPRAVA 2.1
HNACÍ NÁPRAVA 2.1 AV 16-20 A
HNACÍ NÁPRAVA 2.2
HNACÍ NÁPRAVA 2.2 AV 16-20 A
ÚSTROJÍ BUBNOVÉ BRZDY 2.3
DIFERENCIÁL 2.4
PŘEVODOVÁ SKŘÍŇ 3.1
MOTOR S ČERPADLEM 4.1
MOTOR S ČERPADLEM 4.1 AV 16-20 A
MOTOR S ČERPADLEM 4.2
MOTOR S ČERPADLEM 4.2 AV 16-20 A
HNACÍ BLOK 5.1
HNACÍ BLOK 5.1 AV 16-20 A
ŠLAPKA S ÚSTROJÍM 6.1
RÁM 7.1
RÁM 7.1 AV 16-20 A
ŘÍDÍCÍ NÁPRAVA 8.1
ŘÍDÍCÍ NÁPRAVA 8.1 AV 16-20 A
HYDRAULICKÝ VÁLEC SERVOŘÍZENÍ 8.2
HYDRAULICKÝ VÁLEC SERVOŘÍZENÍ 8.2 AV 16-20 A
SLOUPEK ŘÍZENÍ 9.1
SLOUPEK ŘÍZENÍ 9.1 AV 16-20 A
SLOUPEK ŘÍZENÍ 9.2
SLOUPEK ŘÍZENÍ 9.2 AV 16-20 A
VEDENÍ TLAKOVÉHO OLEJE 10.1
VEDENÍ TLAKOVÉHO OLEJE 10.1 AV 16-20 A
VEDENÍ OLEJE 10.2
OLEJOVÝ ROZVÁDĚČ 11.1
OLEJOVÝ ROZVÁDĚČ 11.1 AV 16-20 A
VENTIL 11.2
OLEJOVÝ ROZVÁDĚČ S ELEKTRICKÝM OVLÁDÁNÍM 11.2 AV 16-20 A
RUČNÍ BRZDA 12.1
KRYT PŘEDNÍ 12.2
KRYT PŘEDNÍ 12.2 AV 16-20 A
HYDRAULICKÝ VÁLEC SKLOPNÝ 13.1
HYDRAULICKÝ VÁLEC SKLOPNÝ 13.1 AV 16-20 A
ZDVIHACÍ ZAŘÍZENÍ 14.1
ZDVIHACÍ ZAŘÍZENÍ 14.1 AV 16-20 A
ZDVIHACÍ ZAŘÍZENÍ 14.2
ZDVIHACÍ ZAŘÍZENÍ 14.2 AV 16-20 A
ZDVIHACÍ ZAŘÍZENÍ 14.3
ZDVIHACÍ ZAŘÍZENÍ 14.3 AV 16-20 A
HYDRAULICKÝ VÁLEC ZDVIHACÍ 15.1
HYDRAULICKÝ VÁLEC PRO VOLNÝ ZDVIH 15.2
HYDRAULICKÝ VÁLEC PRO VOLNÝ ZDVIH 15.2 AV 16-20 A
VENTIL 15.3 AV 16-20 A
OCHRANNÁ STŘÍŠKA 16.1
OCHRANNÁ STŘÍŠKA 16.1 AV 16-20 A
MONTÁŽ 17.1
MONTÁŽ 17.1 AV 16-20 A
MONTÁŽ 17.2
MONTÁŽ 17.2 AV 16-20 A
ZAPOJENÍ VOZÍKU 18.1
ZAPOJENÍ VOZÍKU 18.1 AV 16-20 A


Objednávka/Poptávka počet položek: 1, celkem množství: 1
 

Náčrt



  Strana 1 z 4 zobrazováno po 10 Další 
začátek 2 3 konec

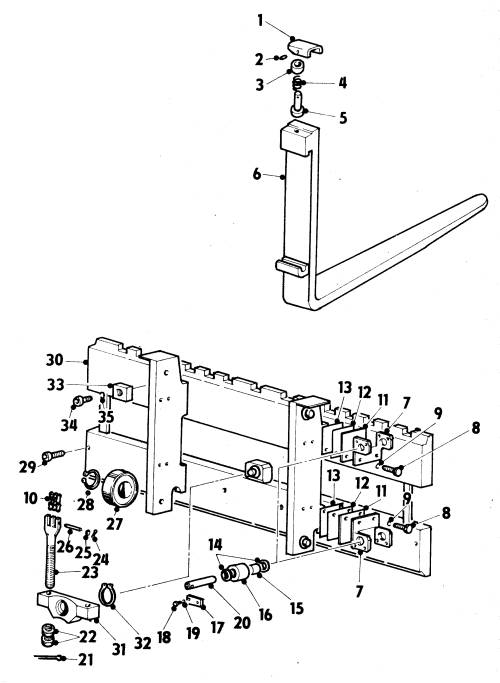
ZDVIHACÍ ZAŘÍZENÍ 14.2
1 Páka  
4-01403-00
počet kusů:
2 Nýt  
4-01081-02
počet kusů:
3 Pouzdro  
4-02000-03
počet kusů:
4 Pružina  
4-4500-66
počet kusů:
5 Čep  
4-03150-02
počet kusů:
6 Nosná vidlice  
2-08765-88
dl. 1200
počet kusů:
6 Nosná vidlice  
2-08765-90
dl. 800
počet kusů:
7 Třmen  
4-05220-02
počet kusů:
8 Šroub M 10x25  
33 802
ČSN 02 1103.25
počet kusů:
9 Podložka 10  
31 040
ČSN 02 1740.01
počet kusů:

  Strana 1 z 4 zobrazováno po 10 Další 
začátek 2 3 konec


Zasílání INFO
Jméno E-mail -->> Odhlásit <<--

© 2003 Created by Czechproduct Nejlépe prohlédnete v IE 5.0 a vyšší, Optimalizováno pro rozlišení 800x600 a větší.