admin

:: VYHLEDÁVÁNÍ ::

Hlavní strana

:: SORTIMENT ::
HNACÍ BLOK 1.1
KOLA 1.2
HNACÍ NÁPRAVA 2.1
DIFERENCÁL 2.4
PŘEVODOVÁ SKŘÍŇ 3.1
ROZVÁDĚČ 3.6
NÁHON ČERPADEL A MĚNIČ 4.1
HNACÍ MOTOR 5.1
VENTIL SERVOŘÍZENÍ 5.2
VYSOKOTLAKÝ FILTR 5.3
CHLAZENÍ 5.4
ŠLAPKOVÉ ÚSTROJÍ 6.1
ELEKTROMAGNET 6.2
ŠLAPKA 6.3
BRZDOVÝ OKRUH 6.4
PODVOZEK 7.1
ŘÍDÍCÍ NÁPRAVA 8.1
HYDRAULICKÝ VÁLEC SERVOŘÍZENÍ 8.2
PŘÍSTROJOVÁ SKŘÍŇ 9.1
SLOUPEK ŘÍZENÍ 9.2
VEDENÍ TLAKOVÉHO OLEJE-POJEZDOVÁ HYDRAULIKA 10.1
OLEJOVÝ ROZVÁDĚČ 11.1
AUTOMATICKÁ PRAKOVACÍ BRZDA 12.1
HYDRAULICKÝ VÁLEC-PARKOVACÍ BRZDA 12.2
HYDRAULICKÝ VÁLEC SKLOPNÝ 13.1
ZDVIHACÍ ZAŘÍZENÍ 14.1
HYDRAULICKÝ VÁLEC ZDVIHACÍ 15.1
VENTIL 15.2
VEDENÍ TLAKOVÉHO OLEJE-PRACOVNÍ HYDRAULIKA 15.3
OCHRANNÁ STŘÍŠKA 16.1


Náčrt



  Strana 1 z 3 zobrazováno po 10 Další 
začátek 2 konec

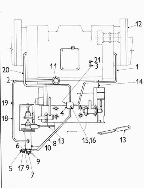
BRZDOVÝ OKRUH 6.4
0 Brzdový okruh   počet kusů:
1 Trubka  
2-08130-76
počet kusů:
2 Hadice  
17.2 pos. 13
počet kusů:
3 Trubka  
3-08130-73
počet kusů:
4 Rozvodka  
36 997
443 966 125 005
počet kusů:
5 Tlakový spínač kapalin.  
29 490
3101
počet kusů:
6 Rozvodka  
33 076
443 962 527 001
počet kusů:
7 Přívodní šroub  
31 699
443 962 421 023
počet kusů:
8 Trubka  
2-08130-74
počet kusů:
9 Těsnící kroužek 12x16  
34 520
ČSN 02 9310.2
5 DSN 4204-30
počet kusů:

  Strana 1 z 3 zobrazováno po 10 Další 
začátek 2 konec


Zasílání INFO
Jméno E-mail -->> Odhlásit <<--

© 2003 Created by Czechproduct Nejlépe prohlédnete v IE 5.0 a vyšší, Optimalizováno pro rozlišení 800x600 a větší.