admin

:: VYHLEDÁVÁNÍ ::

Hlavní strana

:: SORTIMENT ::
HNACÍ BLOK 1
KONCOVÉ OSVĚTLENÍ PRAVÉ 1A
KONCOVÉ OSVĚTLENÍ LEVÉ 1B
KOLO HNACÍ NÁPRAVY (DVOJITÁ MONTÁŽ) 2
KOLO HNACÍ NÁPRAVY (JEDNODUCHÁ MONTÁŽ) 2A
KOLO ŘÍDÍCÍ NÁPRAVY 2B
HNACÍ NÁPRAVA (DVOJITÁ MONTÁŽ) 3
HNACÍ NÁPRAVA (JEDNODUCHÁ MONTÁŽ - 2 HNACÍ KOLA) 3A
HNACÍ NÁPRAVA 4
DIFERENCIÁL 5
PŘEVODOVÁ SKŘÍŇ 6
PŘEVODOVÁ SKŘÍŇ 7
ROZVÁDĚČ 8
MĚNIČ A NÁHON ČERPADLA 9
ŠLAPKOVÉ ÚSTROJÍ 10
VÝFUK 11
VÝFUK 11A
ČISTIČ OLEJE 12
PODVOZEK 13
ŘÍDÍCÍ NÁPRAVA 14
ŘÍDÍCÍ NÁPRAVA 14A
VÁLEC SERVOŘÍZENÍ 15
VOLANT S TYČÍ 16
RUČNÍ BRZDA 17
PŘÍSTROJOVÁ SKŘÍŇ 18
PŘÍSTROJOVÁ SKŘÍŇ (OLEJOVÝ ROZVÁDĚČ) 19
PŘÍSTROJOVÁ SKŘÍŇ (SVĚTLOMETY) 20
RÁM 21
ZVEDACÍ ZAŘÍZENÍ 22
HYDRAULICKÝ VÁLEC ZVEDACÍ 24
HYDRAULICKÝ VÁLEC 25
VEDENÍ TLAKOVÉHO OLEJE 26
MONTÁŽ 27
KRYTOVÁNÍ 28
CHLADÍCÍ SYSTÉM 29
ROZVOD OLEJE PRO POJEZD VOZÍKU 30


Náčrt



  Strana 1 z 2 zobrazováno po 10 Další 
začátek konec

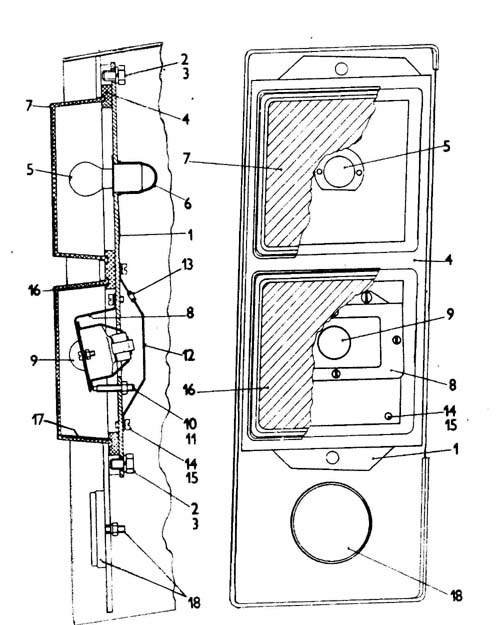
KONCOVÉ OSVĚTLENÍ PRAVÉ 1A
0 Koncové osvětlení pravé  
2-09387-06
počet kusů:
1 Deska pravá  
3-09386-04
počet kusů:
2 Šroub M 8x12  
ČSN 02 1103.25
počet kusů:
3 Podložka 8  
ČSN 02 1740.01
počet kusů:
4 Těsnění  
4-04247-02
pryž
počet kusů:
5 Žárovka 12V/21/5W  
T.č. 223 2632 E
Bay 15 d
počet kusů:
6 Klobouček  
305 N 10 - 20
počet kusů:
7 Kryt světla  
2-07550-02
počet kusů:
8 Držák  
4-08031-00
počet kusů:
9 Žárovka 12V/21W  
T.č. 223 2522 E
počet kusů:

  Strana 1 z 2 zobrazováno po 10 Další 
začátek konec


Zasílání INFO
Jméno E-mail -->> Odhlásit <<--

© 2003 Created by Czechproduct Nejlépe prohlédnete v IE 5.0 a vyšší, Optimalizováno pro rozlišení 800x600 a větší.