admin

:: VYHLEDÁVÁNÍ ::

Hlavní strana

:: SORTIMENT ::
HNACÍ BLOK 1.1
HNACÍ NÁPRAVA 2.1
HNACÍ NÁPRAVA 2.2
DIFERENCIÁL 2.3
PŘEVODOVÁ SKŘÍŇ 3.1
PŘEVODOVÁ SKŘÍŇ 3.2
PŘEVODOVÁ SKŘÍŇ 3.3
PŘEVODOVÁ SKŘÍŇ 3.4
PŘEVODOVÁ SKŘÍŇ 3.5
ROZVÁDĚČ 3.6
NÁHON ČERPADEL A MĚNIČ 4.1
HNACÍ MOTOR 5.1
VENTIL SERVOŘÍZENÍ 5.2
ČISTIČ OLEJE 5.3
CHLAZENÍ 5.4
ŠLAPKOVÉ ÚSTROJÍ, ŠLAPKA 6.1
OKRUH BRZDOVÝ 6.2
PODVOZEK 7.1
FILTR, SACÍ ZAŘÍZENÍ 7.2
HYDRAULICKÝ VÁLEC SERVOŘÍZENÍ 7.3
ŘÍDÍCÍ NÁPRAVA 8.1
VOLANT S TYČÍ 9.1
PŘÍSTROJOVÁ SKŘÍŇ 9.2
VEDENÍ TLAKOVÉHO OLEJE - POJEZDOVÁ HYDRAULIKA 10.1
OLEJOVÝ ROZVÁDĚČ (3) 11.1
OLEJOVÝ ROZVÁDĚČ (4) 11.2
RUČNÍ BRZDA 12.1
HYDRAULICKÝ VÁLEC SKLOPNÝ 13.1
ZDVIHACÍ ZAŘÍZENÍ 14.1
ZDVIHACÍ ZAŘÍZENÍ (PANORAMATICKÉ) 14.2
NOSNÁ VIDLICE 14.3
HYDRAULICKÝ VÁLEC ZDVIHACÍ 15.1
HYDRAULICKÝ VÁLEC ZDVIHACÍ (PANORAMATICKÉ ZZ) 15.2
VENTIL (PANORAMATICKÉ ZZ) 15.3
VEDENÍ TLAKOVÉHO OLEJE - PRACOVNÍ HYDRAULIKA 15.4
VEDENÍ TLAKOVÉHO OLEJE - PRACOVNÍ HYDRAULIKA (PANORAMATICKÉ ZZ) 15.5
OCHRANNÁ STŘÍŠKA 16.1
MONTÁŽ 17.1
ZAPOJENÍ VOZÍKU 18.1


Objednávka/Poptávka počet položek: 3, celkem množství: 3
 

Náčrt



  Strana 1 z 3 zobrazováno po 10 Další 
začátek 2 konec

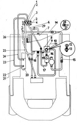
VEDENÍ TLAKOVÉHO OLEJE - POJEZDOVÁ HYDRAULIKA 10.1
0 Vedení tlakového oleje - Pojezdová hydraulika   počet kusů:
1 Hrdlo  
4-04026-31
počet kusů:
2 Těsnící kroužek 22x27  
5 DSN 4204-04
počet kusů:
3 Agregát řízení ORSTA  
tab. 9.1
počet kusů:
4 Hrdlo  
4-04026-28
počet kusů:
5 Hrdlo  
4-04026-30
počet kusů:
6 Hadice 10x500  
TPF 01-8639-80
počet kusů:
7 Převodová skříň  
tab. 3.1
počet kusů:
8 Čerpadlo U 20 L  
tab. 4.1
počet kusů:
9 Dutý šroub 15  
4 DSN 0130-15
počet kusů:

  Strana 1 z 3 zobrazováno po 10 Další 
začátek 2 konec


Zasílání INFO
Jméno E-mail -->> Odhlásit <<--

© 2003 Created by Czechproduct Nejlépe prohlédnete v IE 5.0 a vyšší, Optimalizováno pro rozlišení 800x600 a větší.