admin

:: VYHLEDÁVÁNÍ ::

Hlavní strana

:: SORTIMENT ::
HNACÍ BLOK 1
HNACÍ NÁPRAVA 2
HNACÍ NÁPRAVA 3
HNACÍ NÁPRAVA 4
DIFERENCIÁL 5
PŘEVODOVÁ SKŘÍŇ 6
PŘEVODOVÁ SKŘÍŇ 7
ROZVÁDĚČ 8
MĚNIČ A NÁHON ČERPADEL 9
DVOJITÝ ČISTIČ OLEJE 12
REDUKČNÍ PŘEVODOVKA 13
ŠLAPKOVÉ ÚSTROJÍ 14
PÁKOVÉ ÚSTROJÍ 15
CHLADÍCÍ SYSTÉM 16
PODVOZEK 17
RÁM 18
ŘÍDÍCÍ NÁPRAVA 20
VÁLEC SERVOŘÍZENÍ 21
VOLANT S TYČÍ 22
RUČNÍ BRZDA 23
PŘÍSTROJOVÁ SKŘÍŇ 24
OLEJOVÝ ROZVÁDĚČ 25
ZVEDACÍ ZAŘÍZENÍ 26
HYDRAULICKÝ VÁLEC SKLOPNÝ 27
HYDRAULICKÝ VÁLEC ZVEDACÍ 28
HYDRAULICKÝ VÁLEC PODPĚRNÝ 29
ROZVOD OLEJE PRO POJEZD VOZÍKU 31
VEDENÍ TLAKOVÉHO OLEJE 32
MONTÁŽ 33
KRYTOVÁNÍ 34
POSTRANICE PRAVÁ 35
POSTRANICE LEVÁ 36


Objednávka/Poptávka počet položek: 1, celkem množství: 2
 

Náčrt



  Strana 1 z 2 zobrazováno po 10 Další 
začátek konec

HYDRAULICKÝ VÁLEC PODPĚRNÝ 29
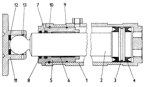
0 Hydraulický válec podpěrný kompl.  
2-08899-07
počet kusů:
1 Plᚍ válce kompl.  
3-08906-12
počet kusů:
2 Pístní tyč kompl.  
3-08907-80
počet kusů:
3 Kroužek  
4-03917-00
počet kusů:
4 Manžeta U 65x90  
34 706
FK 0825
počet kusů:
5 Víko  
3-01520-00
počet kusů:
6 Pouzdro  
4-02008-01
počet kusů:
7 Kroužek 70x60  
ČSN 02 9280.2
počet kusů:
8 Kroužek  
4-03956-03
počet kusů:
9 Kroužek 85x3  
ČSN 02 9281.2
počet kusů:

  Strana 1 z 2 zobrazováno po 10 Další 
začátek konec


Zasílání INFO
Jméno E-mail -->> Odhlásit <<--

© 2003 Created by Czechproduct Nejlépe prohlédnete v IE 5.0 a vyšší, Optimalizováno pro rozlišení 800x600 a větší.