admin

:: VYHLEDÁVÁNÍ ::

Hlavní strana

:: SORTIMENT ::
HNACÍ BLOK 1.1
KOLA 1.2
POLONÁPRAVA PRAVÁ 2.1
POLONÁPRAVA PRAVÁ 2.1 MV 15-16
POLONÁPRAVA LEVÁ 2.2
POLONÁPRAVA LEVÁ 2.2 MV 15-16
PŘEVODOVÁ SKŘÍŇ 3.1
PŘEVODOVÁ SKŘÍŇ 3.2
ROZVODOVKA 3.3
ROZVÁDĚČ 3.4
MĚNIČ 4.1
HNACÍ MOTOR 5.1
CHLAZENÍ MOTORU 5.2
CHLAZENÍ MOTORU 5.2 MV 15-16
VENTIL SERVOŘÍZENÍ 5.3
PŘÍDAVNÉ CHLAZENÍ 5.4
ŠLAPKOVÉ ÚSTROJÍ 6.1
BRZDOVÝ OKRUH 6.2
RÁM 7.1
FILTR 7.2
ŘÍDÍCÍ NÁPRAVA 8.1
ŘÍDÍCÍ NÁPRAVA 8.1 MV 16
HYDRAULICKÝ VÁLEC SERVOŘÍZENÍ 8.2
SLOUPEK ŘÍZENÍ 9.1
PÁKOVÉ ÚSTROJÍ 9.2
PŘÍSTROJOVÁ DESKA 9.3
PŘÍSTROJOVÁ DESKA 9.3 MV 15-16
VEDENÍ TLAKOVÉHO OLEJE - POJEZDOVÁ HYDRAULIKA 10.1
VEDENÍ TLAKOVÉHO OLEJE - POJEZDOVÁ HYDRAULIKA 10.1 MV 16
OLEJOVÝ ROZVÁDĚČ 11.1
RUČNÍ BRZDA 12.1
HYDRAULICKÝ VÁLEC SKLOPNÝ 13.1
ZDVIHACÍ ZAŘÍZENÍ 14.1
ZDVIHACÍ ZAŘÍZENÍ 14.2
ZDVIHACÍ ZAŘÍZENÍ 14.3
HYDRAULICKÝ VÁLEC ZDVIHACÍ 15.1
HYDRAULICKÝ VÁLEC PRO VOLNÝ ZDVIH 15.2
VENTIL 15.3
VEDENÍ TLAKOVÉHO OLEJE - PRACOVNÍ HYDRAULIKA 15.4
VEDENÍ TLAKOVÉHO OLEJE - PRACOVNÍ HYDRAULIKA 15.4 MV 15
VEDENÍ TLAKOVÉHO OLEJE - PRACOVNÍ HYDRAULIKA 15.4 MV 16
VENTIL 15.5
VÝFUK 16.1
KATALYZAČNÍ TLUMIČ 16.2
OCHRANNÁ STŘÍŠKA 16.3
MONTÁŽ 17.1
MONTÁŽ 17.1 MV 15
MONTÁŽ 17.1 MV 16
MONTÁŽ 17.2 MV 15
MONTÁŽ 17.2 MV 16
ZAPOJENÍ VOZÍKU 18.1
ZAPOJENÍ VOZÍKU 18.1 MV 15-16


Objednávka/Poptávka počet položek: 1, celkem množství: 1
 

Náčrt



  Strana 1 z 4 zobrazováno po 10 Další 
začátek 2 3 konec

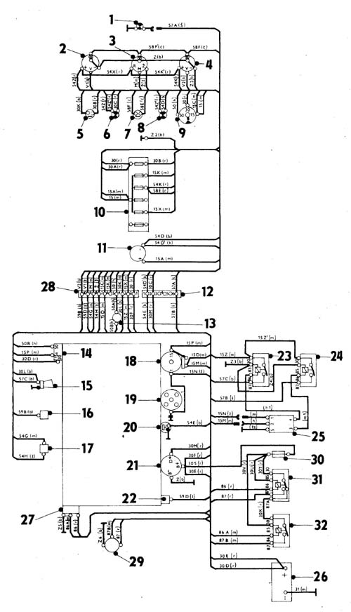
ZAPOJENÍ VOZÍKU 18.1
1 Kontrolní svítilna  
tab. 9.3 pos. 35
počet kusů:
2 Teploměr  
tab. 9.3 pos. 19
počet kusů:
3 Palivoměr  
tab. 9.3 pos. 17
počet kusů:
4 Teploměr  
tab. 9.3 pos. 19
počet kusů:
5 Tlačítkový spínač  
tab. 9.3 pos. 23
počet kusů:
6 Kontrolní svítilna červená  
tab. 9.3 pos. 25
počet kusů:
7 Zasouvací spínač  
tab. 9.3 pos. 26
počet kusů:
8 Kontrolní svítilna zelená  
tab. 9.3 pos. 27
počet kusů:
9 Spínací skříňka s bezpečnostní vložkou  
tab. 9.3 pos. 28
počet kusů:
10 Pojistková skříňka  
tab. 9.3 pos. 29
počet kusů:

  Strana 1 z 4 zobrazováno po 10 Další 
začátek 2 3 konec


Zasílání INFO
Jméno E-mail -->> Odhlásit <<--

© 2003 Created by Czechproduct Nejlépe prohlédnete v IE 5.0 a vyšší, Optimalizováno pro rozlišení 800x600 a větší.