admin

:: VYHLEDÁVÁNÍ ::

Hlavní strana

:: SORTIMENT ::
KOLA 1.1
HNACÍ NÁPRAVA 2.1
HNACÍ NÁPRAVA 2.2
DIFERENCIÁL 2.3
HYDRAULICKÁ SERVO-BRZDA 2.4
PŘEVODOVÁ SKŘÍŇ 3.1
PŘEVODOVÁ SKŘÍŇ 3.2
PŘEVODOVÁ SKŘÍŇ 3.3
PŘEVODOVÁ SKŘÍŇ 3.4
PŘEVODOVÁ SKŘÍŇ 3.5
ROZVÁDĚČ 3.6
VÁLEC PARKOVACÍ BRZDY 3.7
MĚNIČ 4.1
NÁHON ČERPADEL 4.2
NÁHON ČERPADEL 4.3
HNACÍ BLOK 5.1
HNACÍ BLOK 5.2
CHLAZENÍ 5.3
PÁKOVÉ ÚSTROJÍ 6.1
PODVOZEK 7.1
ŘÍDÍCÍ NÁPRAVA 8.1
HYDRAULICÝ VÁLEC SERVOŘÍZENÍ 8.2
SLOUPEK ŘÍZENÍ 9.1
ŠLAPKOVÉ ÚSTROJÍ 9.2
ELEKTROMAGNET 9.3
VEDENÍ TLAKOVÉHO OLEJE-PRACOVNÍ HYDRAULIKA 10.1
OLEJOVÝ ROZVÁDĚČ 11.1
OLEJOVÝ ROZVÁDĚČ 11.2
OLEJOVÝ ROZVÁDĚČ 11.3
PRIORITNÍ VENTIL - PŘIPOJENÍ 11.4
VÝFUK 12.1
HYDRAULICKÝ VÁLEC SKLOPNÝ 13.1
ZDVIHACÍ ZAŘÍZENÍ 14.1
ZDVIHACÍ ZAŘÍZENÍ 14.2
ZDVIHACÍ ZAŘÍZENÍ 14.3
ZDVIHACÍ DESKA 14.4
HYDRAULICKÝ VÁLEC ZDVIHACÍ 15.1
KABINA 16.1
ČELNÍ KRYT 16.2
DVEŘE PRAVÁ A LEVÉ 16.3
OKNO PŘEDNÍ A STŘEŠNÍ 16.4
OKNO ZADNÍ 16.5
STĚRAČ 16.6
DRŽÁK NÁJEZDU LEVÝ A PRAVÝ 16.7
TOPENÍ 16.8
OCHRANNÁ STŘÍŠKA 16.9
MONTÁŽ 17.1
MONTÁŽ 17.2
SCHEMA EL. ZAPOJENÍ 18.1


Náčrt


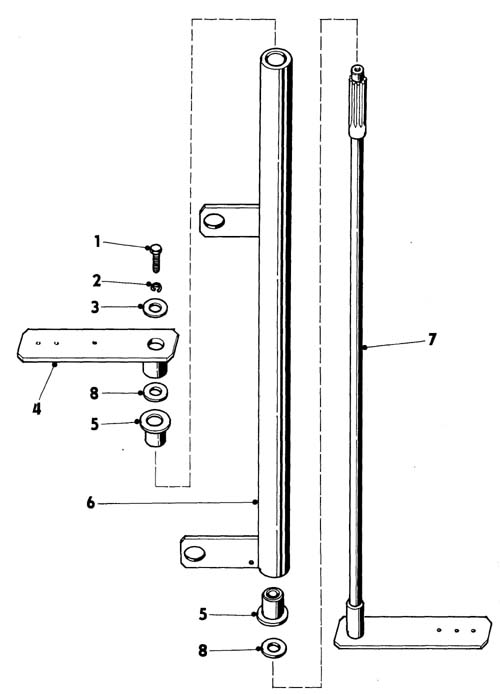
PÁKOVÉ ÚSTROJÍ 6.1
0 Pákové ústrojí kompl.  
2-39500-00
počet kusů:
1 Šroub M 6x20  
32 012
ČSN 02 1103.25
počet kusů:
2 Podložka 6  
31 280
ČSN 02 1740.05
počet kusů:
3 Podložka 6,6  
32 941
ČSN 02 1727.00
počet kusů:
4 Páka  
4-31418-00
počet kusů:
5 Pouzdro  
4-02100-46
počet kusů:
6 Trubka  
3-34490-00
počet kusů:
7 Hřídel s pákou  
3-32965-01
počet kusů:
8 Podložka 10,5  
31 250
ČSN 02 1702.15
počet kusů:

Zasílání INFO
Jméno E-mail -->> Odhlásit <<--

© 2003 Created by Czechproduct Nejlépe prohlédnete v IE 5.0 a vyšší, Optimalizováno pro rozlišení 800x600 a větší.